A Little More on Havana Syndrome and Daniel Schreber...
One of my interests is the history of psychoanalysis because Sigmund Freud was a military contractor who peddled “psychoanalysis” for “narcissism” as a “war neurosis treatment”. Freud stole both the name and underlying concepts for “narcissism” from contemporary Austro-Hungarian criminologists who were researching “moral insanity” (see my work on “new people” and dissociation).
While he was being paid by the Hapsburgs to research these things, Freud attached himself to a number of interesting people. One of these was Hans Gross, who was Austria-Hungary’s top expert on establishing informant networks amongst criminally-inclined minority groups like Gypsies. Another was Jean-Martin Charcot, who studied the corpses of children who had probably been trafficked in Paris. Like Charcot, a great number of the physiologists whom Freud idolized or befriended were interested in using electricity for medical treatments (Claude Bernard, Edouard Brown-Sequard, Emil Du Bois-Reymond, Hermann von Helmholtz… and even old Moritz Benedikt).
As it turns out, a medical doctor and assistant to Bernard and Brown-Sequard named Jacques Arsene d’Arsonval (1851-1940) began important work in 1876 on how variable currents (AC) affect human physiology. The idea was to induce currents at different frequencies in tissues and see how the tissues respond, from Rowbottom and Susskind, “Electricity and Medicine”, 1984, page 128:
He [d’Arsonval] found that use of the very low frequencies led to neither contractions nor painful effects, but there were increases in oxygen absorption and production of carbon dioxide by the tissues resulting from an increase in metabolic rate. As the frequency was increased, first single muscular contractions, two for each complete oscillation of the current, appeared; then, as the rate was further increased, to 20-30 stimulations per second [that’s 10^1 Hz, or “alpha brain wave” range of frequency], the contractions fused and the muscle became tetanized. He observed that the intensity of excitation increased with frequency up to a maximum of about 2500 to 5000 stimulations per second and thereafter declined… The maximum frequency that D’Arsonval was able to achieve by mechanical means was 10,000 per second [10^4 Hz, which is radio wave frequency], for which a very slight effect could still be observed. He suspected that even this effect would totally disappear at still higher frequencies, but not until the end of 1890 was he able to get above that limit— by a totally new method.
Jacques-Arsène d'Arsonval
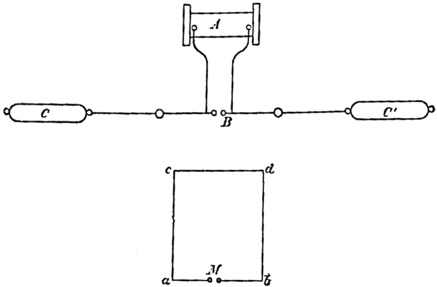
D’Arsonval used a primitive, but effective, set-up to conduct his experiments. [CORRECTION!] Basically, a bit of animal tissue finished an electric circuit which was connected to a smooth AC current. A piece of animal muscle tissue was placed near a wire carrying smooth AC current. [In textbooks, similar experiments often show the EMF being induced through a circle of wire.] D’Arsonval could mechanically control and record this AC current. (His smooth reading apparatus was an innovation in itself.) D’Arsonval’s set-up meant that either side of the tissue there were wires carrying a the muscle tissue was bathed in EMF radiation of a known, controlled frequency.
High school physicists may remember that wires carrying current induce electromagnetic fields. (Flemming’s Left Hand Rule, Right Hand Rule.) From the University of Virginia:
Electromagnetic waves are produced whenever electric charges are accelerated. This makes it possible to produce electromagnetic waves by letting an alternating current flow through a wire, an antenna. The frequency of the waves created in this way equals the frequency of the alternating current. (The light emitted by a light bulb is caused by thermal motion that accelerates the electrons in the hot filament sufficiently to produce visible light.) The inverse effect also happens: if an electromagnetic wave strikes a wire, it induces an alternating current of the same frequency in the wire. This is how the receiving antennas of a radios or television sets work. As one might expect, an antenna is most efficient when its length is of the order of the wavelength of the waves emitted or received. (The waves used for TV transmission, for example, have wavelengths of the order of one meter, which is also the size of a typical TV antenna.)
In D’Arsonval’s experiment, the wire near the tissue would emit its own electromagnetic radiation and up to AC currents of 10^4 Hz that radiation would be radio waves. The National Institute of Health assures me that low frequency EMF can make muscle tissue twitch. I have never seen this experiment conducted in a lab, my guess is that by the time I was in school administrators were nervous about EMF fields in classrooms. I’m also guessing that the result looks like the cutlet below, because adding salt to fresh meat is basically like inducing a current in the muscle fibers:
But note that there was a limit to D’Arsonval’s experiment— mechanical means of generating AC topped out at 10,000 vacillations per second. Radio frequency was the limit… until 1890.
In 1890 that limit was blown away. D’Arsonval caught up with Heinrich Hertz’s 1886 discovery of how to make high-frequency currents using two capacitors and applied the higher frequency currents to his tissue experiments:
The crucial apparatus was a combination of inductance and capacitance— a coil and a condenser— which, when the magnitudes were right, acted as a suitable oscillatory circuit or resonator.
Hertz’s circuit for high-frequency AC current creation.
Although Helmholtz (Hertz’s teacher), William Thomson (later Lord Kelvin), and Berend Wilhelm Feddersen had already recorded the properties of such a circuit, Hertz’s genius was to leave an air gap in the set-up where a spark could be observed:
A spark across the gap served as an indication of an oscillatory discharge in the vicinity— the first wireless transmission recognized as a manifestation of Maxwell’s theories. With proper adjustments of the circuit dimensions (“tuning”) the effect could be much enhanced (that is, the spark length increased) and the new waves, whose length was shown to be in what we now call the “microwave” range, could be put through their paces: they were reflected, focused, refracted, and diffracted just as if they were light waves…
So with D’Arsonval’s 1890 work in Paris, two years before Daniel Schreber experienced the symptoms which I suspect were Havana Syndrome/microwave poisoning, a medical doctor was bombarding tissues with microwave radiation and grabbing everyone’s attention with the results:
…in 1891, D’Arsonval realized that Hertzian oscillations could greatly extend the frequency range of his experiments on neuromuscular excitation. The frequency of these oscillations was about 1,000,000,000 [10^9 Hz, microwave] per second— five orders of magnitude greater than the 10,000 oscillations per second obtainable by mechanical means…
Such high frequencies did not excite muscle contraction in muscle tissue. D’Arsonval’s peers had a hard time believing his set-up actually worked. Fortunately, Nikola Tesla was paying attention and three weeks after publication Telsa was able to confirm d’Arsonval’s results and increase the frequency even further.
Tesla at about the time he was conducting the improved D’Arsonval experiments.
Nikola Tesla, the Serbian-born engineer and inventor who emigrated to America and devised the first alternating-current motor, insisted on the importance of high-voltage alternating currents for the transmission of power…During the years 1891 to 1893 Tesla gave three lectures and highly dramatic demonstrations concerning his work on the application of alternating currents of high frequency and high potential to methods of artificial lighting. In the course of these lectures he made some reference to the physiological properties of such currents and their possible use in medicine. The first lecture was mainly concerned with frequencies of the order of 10,000-30,000 obtained by mechanical means. His technique for obtaining such frequencies , by the rotation of an alternator with 384 or more pole projections, was similar to that employed by D’Arsonval, but was much more efficient and powerful, and achieved a higher range of frequencies…
On 23 December 1891 a short note by Tesla entitled “Massage with currents of high frequency” appeared in “The Electrical Engineer”. He said that he did not want to be regarded as a patent medicine man, but that since giving the lecture to the American Institute of Electrical Engineers he had received inquiries from noted physicians concerning the effects of high-frequency currents on the human body. He referred to the heating of insulated objects by mere connection with the source of rapidly alternating high potentials, which he though was due to the molecular bombardment of the surface by the surrounding air. He went on to say that the skin of a person insulated in a room (or anywhere) and brought into contact with such a source would be heated by such bombardment, and that with appropriate apparatus any degree of heating could be obtained. He emphasized that the heat would be superficial and that he could not say whether or not it would be beneficial.
Tesla’s lectures aroused much astonished admiration and a great interest in high-frequency currents on both sides of the Atlantic. His suggestion of their possible use in medicine was not ignored by those interested in electroptherapy.
By 1892 D’Arsonval had modified his circuit according to Tesla’s and Elihu Thomson’s improvements and “This arrangement became widely used for medical purposes.” In 1893, he conducted his human experiments:
The person was completely enclosed in a large solenoid resembling a cage and was insulated from all contact with it. Owing to the high-frequency oscillating magnetic field within the solenoid, strong currents were induced within the body, and although neither pain for any other sensation was felt, a lamp held in the hands became incandescent…
During the period 1893 to 1900, more and more institutions and private houses were connected to a mains supply of electricity, so that the battery and Ruehmkorff coil [a type of electrical transformer used to produce high-voltage pulses from a low-voltage direct current (DC) supply] could be replaced by an alternator and (if necessary) a transformer in private practice, clinics, and hospitals. Working with various instrument makers, and in particular the Paris firm of Gaiffe, D’Arsonval designed appropriate apparatus for high-frequency work for the use of electrotherapists… By 1900 the equipment was in the form of a very respectable piece of furniture: the transformer, condenser, etc. were housed in a cabinet, on the top of which was a control panel and the spark gap enclosed in glass…
As the voltage and currents were increased, local heating was noted. Warnings were given of the danger of burns… by 1900 it had been shown that small animals could be killed by excessive heating from high-frequency sources.
An image of an “auto-conduction cage” as used by D’Arsonval and his medical followers.
Did the Pentagon pay US$10+ million for a piece of 120 year old medical equipment?
How long do you think it took for some bright doctor to wonder if microwave radiation, which didn’t affect muscles, would affect living brain tissue? Especially with doctors as ethical as Sigmund Freud running around.
D’Arsonval was a contemporary to Sigmund Freud. Freud had received an Austrian government grant to study brain anatomy in Paris from October 1885 to February 1886, by which time D’Arsonval had been working on his electrical projects for ten years. During that 1885/86 period, Freud became enamored with Jean-Martin Charcot’s lectures on hysteria; his use of hypnosis; and also Charcot’s investigations of the corpses of abused children. These topics became the basis for Freud’s “psychoanalysis” cult. Charcot himself and many of his pupils were also intrigued by electrotherapy. Quack medicine had long been the province of counterfeiters and spies, like Freud’s in-law’s bestie, the Austrian spook and Lincoln Man Heinrich Boernstein. Such edgy “scientific” treatments would have been all the rage among the self-promoting doctor set, a set which included men like Freud and Schreber’s doctor, Paul Flechsig.
The more I learn about the history of electromagnetic radiation and its “medicinal use”, the more I believe Schreber was not so crazy in his accusation against Flechsig in Memoirs of my Nervous Illness, and that Freud’s sudden postmortem of Schreber is a very dark work indeed.



